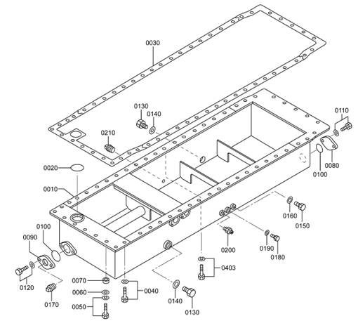
三菱12R發動機油底殼油盤

|
參考號 |
零件編號名稱和描述 |
|
0010 37713 |
50101 油底殼 1 |
|
0020 05507 |
20800 三菱12R發動機O型圈 1 |
|
0030 37713 |
10200 油底殼墊片 1 |
|
0040 F1805 |
12035 組合螺栓裝配螺栓 47 |
|
0043 F1805 |
12040 組合螺栓裝配螺栓 1 |
|
0050 F1805 |
12050 組合螺栓裝配螺栓 6 |
|
0060 F2500 |
12000 平三菱12R發動機墊圈 6 |
|
0070 56C95 |
14900 三菱12R發動機止推環 6 |
|
0080 33546 |
06900 蓋板 1 |
|
0090 45742 |
56601 法蘭 1 |
|
0100 05507 |
20600 三菱12R發動機O型圈 2 |
|
0110 F1805 |
12025 組合螺栓裝配螺栓 2 |
|
0120 F1805 |
12030 組合螺栓裝配螺栓 2 |
|
0130 F5000 |
36000 放油螺塞 2 |
|
0140 05946 |
03601 密封三菱12R發動機墊圈 2 |
|
0150 F5000 |
20000 放油螺塞 1 |
|
0160 05946 |
02001 密封三菱12R發動機墊圈 1 |
|
0170 F5006 |
26000 內六角錐螺塞 1 |
|
0180 F5000 |
16000 放油螺塞 1 |
|
0190 05946 |
01601 密封三菱12R發動機墊圈 1 |
|
0200 F4540 |
12000 接頭 1 |
|
0210 F5006 |
17000 內六角錐螺塞 1 |
32307-02500 070-01 9 0180
32332-00801 323 59 0590
32423-03800 250 37 0320
32504-00400 040 5 0040
32507-01400 070-01 9 0020004
32507-01400 610-04 109 7340
32507-01400 610-06 115 7340
32522-04111 220 33 0001001
32522-04211 220 33 0002001
32522-04311 220 33 0003001
32532-01700 940-02 157 0100041
32532-06320 323 59 0570
32532-06485 330-01 61 0100
32532-07320 323 59 0560
32532-08500 321 57 0060
32532-09100 330-01 61 0080
32532-20800 320 55 0280
32532-20800 320 55 0282
32532-20800 320 55 0284