康明斯柴油發動機、柴油發電機組用起動機、啟動馬達原理與維修技術資料

康明斯啟動馬達基本理論
l 通電的導體周圍產生磁場,其方向和強度決定于電流的方向和大小。
l 把通電的導體放于馬蹄型磁鐵中,那里就存在兩個分離的磁場。
l 兩個磁場相互疊加,導致導體一側磁場強而另一側磁場弱,迫使導體從磁場強度強到磁場強度弱的方向運動。

簡易康明斯啟動馬達原理
l 把電路環線置于兩磁極中。電流流向:蓄電池正→磁極線圈→ 碳刷→ 換向器→電路環線 → 換向器→碳刷 →蓄電池負
l 通電產生旋轉磁場,電路環線每轉半圈改變一次電流方向,以保證旋轉磁場方向不變。

康明斯啟動馬達電路接線簡圖

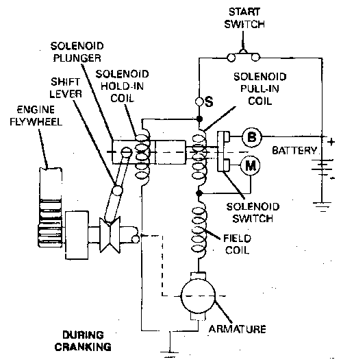
康明斯啟動馬達工作原理(工作狀態)
l 當起動開關閉合時,電路流經電磁閥吸入線圈和保持線圈、磁場線圈和轉子線圈。
l 在吸入線圈和保持線圈磁力作用下,柱塞被吸入電磁閥而移動轉換桿,嚙合馬達齒輪和飛輪齒輪。
l 同時B和M兩觸點閉合,大電流通過磁場線圈和轉子線圈,轉子帶動發動機旋轉。

康明斯啟動馬達工作原理(停止狀態)
l 當發動機起動并轉速增大時,驅動軸的超越機構彈出馬達齒輪以防發動機倒拖起動馬達。
l 當起動開關斷開時,電流瞬間(從M點到S點到電池負)流過吸入線圈和保持線圈.
l 兩線圈磁力現反相互抵消,在無磁力情況下,柱塞彈簧斷開接觸點B和M,并分離馬達齒輪。

康明斯啟動馬達零部件組成

l 外殼和磁場線圈、轉子和換向環、馬達驅動機構、電磁接觸器和切換桿、碳刷


l 1、轉子軸 2、轉子線圈 3、轉子磁芯 4、換向器 5、磁極靴 6、磁場線圈 7、碳刷 8、碳刷架
康明斯啟動馬達故障初始檢查
l 首先查看馬達上是否有機械損壞,以及誤操作的跡象。
l 馬達磨齒故障,如果不是安裝調整不正確那么就是操作者在正在運轉的發動機上開啟馬達或在飛輪損壞的發動機上安裝新馬達造成的。
l 蓄電池充電不足馬達長時間運轉會過熱損壞起動馬達。
l 查看是否存在不是保修范圍的機械損壞,并估計修理費用是否會過高

檢查機架和勵磁線圈組成
l 用萬用表電阻檔進行電阻檢測:
l 1、通路:勵磁線圈端子與絕緣刷之間應是通路。
l 2、絕緣:勵磁線圈與機架之間應是斷路(沒有接地)。
l 如果1斷路或2接地則應更換馬達。

檢查康明斯啟動馬達轉子和換向器環
l 1、用電機轉子測試儀檢測轉子是否存在內部短路。
l 2、用萬用表電阻檔檢測換向器輪緣與軸之間是否通路(接地)
l 3、查看換向器與轉子連接是否良好,是否有燒蝕。
l 如果有短路、接地或燒蝕現象,則更換轉子。
l 換向器環可以車削加工以使表面平整。
康明斯啟動馬達驅動機構、碳刷和換向器
l 參照維護手冊檢查馬達驅動機構,特別檢查驅動齒輪上的齒是否損壞。
l 參照維護手冊檢查碳刷長度是否可以回用
l 檢查碳刷和換向器環是否有損壞、磨損和腐蝕。

康明斯啟動馬達電磁閥開關
l 1、用萬用表電阻檔檢測馬達端子1和3之間電阻。
l 2、用萬用表電阻檔檢測馬達端子1和4之間電阻。
l 3、用萬用表電阻檔檢測馬達端子4與機殼之間電阻 (應斷路)。
l 4、檢查通斷電時電磁閥吸合與分離情況。

康明斯啟動馬達發動機控制電路圖

齒輪/止推墊圈間隙和機架調整
l 止推墊圈間隙的調整精確度要求很高。調整不當則可能出現馬達不工作或馬達在齒輪與飛輪嚙合前開始轉動。
l 用塞規調整止推墊圈間隙,調整方法參考各種馬達的服務手冊。
l 用一較大的塞規調整以保證齒輪完全嚙合前電磁閥主接觸器沒有閉合。
l 盡管不是必需的但還是建議用絕緣表檢查內部元件對地的絕緣性。
卡特3512B發電機使用是柴油阻力大什么原因,柴油發電機組自啟動跟全自動控制柜的區別,康明斯kta38-t2發電機常見故障,康明斯4缸轉子泵正時,道依茨柴油粗濾可以放水嗎,VOLVO1641柴油機故障,康明斯大泵發動機大油門煙大是什么原因,柴油機機油傳感器漏油有哪些危害,船用康明斯柴油動力機啟動步奏,柴油發電機需要裝轉換裝置器嗎,柴油機渦輪增壓器損壞是什么原因,柴油車突然斷油熄火