Perkins1103/1104柴油發動機標準皮帶輪安裝

1.清潔皮帶輪(3)和止推板(2)。檢查皮帶輪(3)和止推板(2)是否有任何磨損和損壞。必要時,更換任何損壞的零件。檢查皮帶輪表面區域是否與曲軸前面的密封件正常地接觸。如果存在過度磨損,則可以安裝一個承磨襯套。有關詳細情形,參見《Perkins1103/1104柴油發動機解體和組裝手冊》,“曲軸承磨襯套(前)-拆卸和曲軸承磨襯套(后)-安裝”。
2.將Perkins1103/1104柴油發動機標準皮帶輪(3)放置到曲軸(4)上。
3.用清潔的發動機機油潤滑調整螺釘(1)的螺紋和螺栓肩。將止推塊(2)就位,并且安裝調整螺釘(1)。均勻擰緊調整螺釘至最終扭矩為115N·m(85lbft)。
4.再次以同樣的扭矩擰緊每個調整螺釘(1),以便確保調整螺釘仍然處于要求的扭矩。
非標準皮帶輪的拆卸和安裝(如果配備)
拆卸和安裝非標準皮帶輪有兩種程序。一種程序在不更換曲軸的時候使用。第二種程序在更換曲軸之前拆卸非標準皮帶輪的時候使用。
當不更換曲軸的時候,拆卸非標準皮帶輪

1.拆下調整螺釘(1),然后拆下止推板(2)。
2.在曲軸(4)的前面作一個標記,將其與皮帶輪(5)上的標記對齊。
3.從曲軸(4)上拆下皮帶輪(3)。
當不更換曲軸的時候,安裝非標準皮帶輪

1.清潔皮帶輪(3)和止推板(2)。檢查皮帶輪(3)和止推板(2)是否有任何磨損和損壞。必要時,更換任何損壞的零件。檢查皮帶輪表面區域是否與曲軸前面的密封件正常地接觸。如果存在過度磨損,則可以安裝一個承磨襯套。有關詳細情形,參見《Perkins1103/1104柴油發動機解體和組裝手冊》,“曲軸承磨襯套(前)-拆卸和曲軸承磨襯套(后)-安裝”。

2.用曲軸(4)前面的標記對準皮帶輪(5)上的標記,然后在曲軸上安裝皮帶輪。
3.用清潔的發動機機油潤滑調整螺釘(1)的螺紋和螺栓肩。將止推塊(2)就位,并且安裝調整螺釘(1)。均勻擰緊調整螺釘至最終扭矩為115N·m(85lbft)。
4.再次以同樣的扭矩擰緊每個調整螺釘(1),以便確保調整螺釘仍然處于要求的扭矩。
當更換曲軸的時候,拆卸非標準皮帶輪

1.拆下調整螺釘(1),然后拆下止推板(2)。
2.從曲軸(4)上拆下皮帶輪(3)。
當更換曲軸的時候,安裝非標準皮帶輪

1.清潔皮帶輪(3)和止推板(2)。檢查皮帶輪(3)和止推板(2)是否有任何磨損和損壞。必要時,更換任何損壞的零件。檢查皮帶輪表面區域是否與曲軸前面的密封件正常地接觸。如果存在過度磨損,則可以安裝一個承磨襯套。有關詳細情形,參見《Perkins1103/1104柴油發動機解體和組裝手冊》,“曲軸承磨襯套(前)-拆卸和曲軸承磨襯套(后)-安裝”。
2.將第1缸活塞置于其上止點位置。請參閱《測試和調整》,“查找1號活塞上止點位置”。

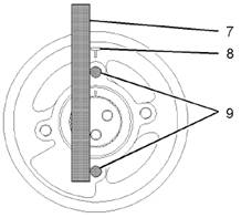
3.用頂部的“T”標記(8)對準前面的皮帶輪。在皮帶輪中的頂部和底部螺紋孔里安裝臨時導向銷(9)。請參考圖147。
4.用頂部的“T”標記(8)對準皮帶輪,并且與發動機的中心線成一直線,然后在曲軸上安裝皮帶輪。使用一個合適的直尺(7)靠在導向銷(9)上,以協助皮帶輪的校準。
注:皮帶輪最多可以順時針方向或者逆時針方向旋轉4度,以便用曲軸上的花鍵對準皮帶輪中的花鍵。這在可接受的限值范圍之內。
5.拆下直尺(7)和兩個導向銷(9)。
6.用清潔的發動機機油潤滑調整螺釘(1)的螺紋和螺栓肩。將止推塊(2)就位,并且安裝調整螺釘(1)。均勻擰緊調整螺釘至最終扭矩為115N·m(85lbft)。
7.再次以同樣的扭矩擰緊每個調整螺釘(1),以便確保調整螺釘仍然處于要求的扭矩。
a.安裝V形皮帶。請參閱本《Perkins1103/1104柴油發動機解體和組裝》,“V形皮帶-拆卸和安裝”。